Tool(s): Roof Frame + Dormer + Modify Roof Frame + Create a Gambrel Roof Frame
Preview of current settings

A |
Segment to which the current settings apply (highlighted in red) |
B |
Additional segments |
|
Use the following tools to control the preview: |
|
Reduce |
|
Expand |
|
Insert Point |
|
Delete Point |
Values

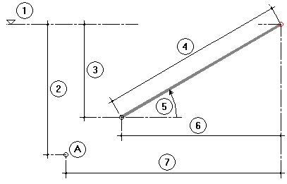
A |
Eaves |
1 |
Absolute height |
2 |
Height above eaves |
3 |
Height above previous point |
4 |
Segment length |
5 |
Angle |
6 |
Offset to previous point |
7 |
Distance to eaves |
Note: The parameters you set can be
saved as a favorite file and
read back into the dialog box.
| (C) Allplan GmbH | Privacy policy |